本實用新型涉及一種污水處理設備,尤其涉及一種醫療機構污水處理設備。本實用新型要解決的技術問題是提供一種雙向處理的醫療機構污水處理設備。為了解決上述技術問題,本實用新型提供了這樣一種醫療機構污水處理設備,包括有機架、收集框、L形連桿、支撐桿、水泵、軟管、處理框、固定塊、第二處理框、濾網、進水管等;機架內底部從左至右依次設有收集框,L形連桿和支撐桿,收集框內底部設有水泵,水泵上設有軟管,L形連桿頂部左側設有處理框,處理框下部外側設有固定塊,固定塊上掛有第二處理框。本實用新型通過第三處理框中明礬與污水接觸后迅速生成氫氧化鋁膠體,吸附污水中雜質,并形成沉淀,使水澄清。

權利要求書
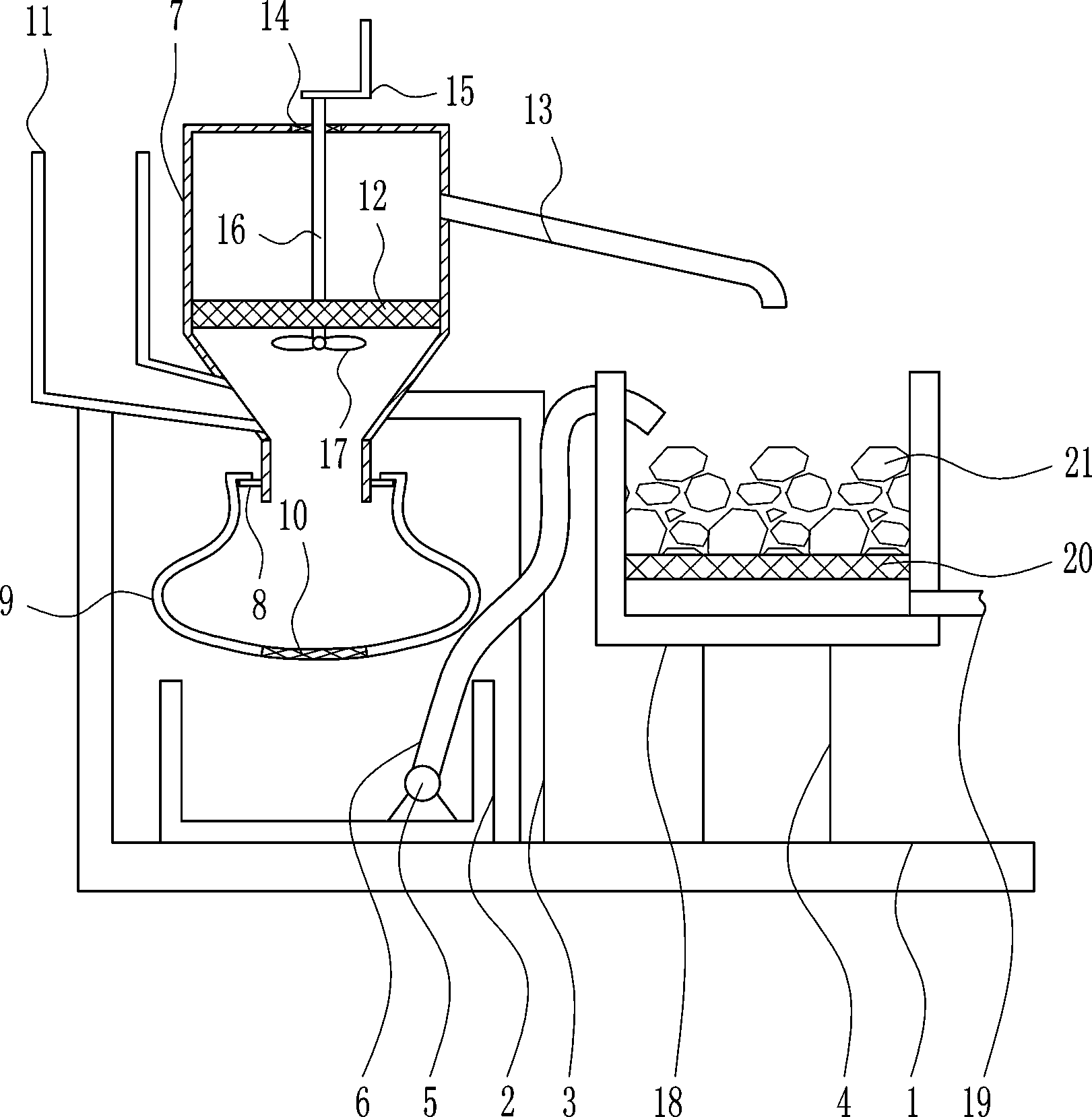
1.一種醫療機構污水處理設備,其特征在于,包括有機架(1)、收集框(2)、L形連桿(3)、支撐桿(4)、水泵(5)、軟管(6)、處理框(7)、固定塊(8)、第二處理框(9)、濾網(10)、進水管(11)、第二濾網(12)、出水管(13)、軸承(14)、搖柄(15)、轉軸(16)、葉片(17)、第三處理框(18)、第二出水管(19)、第三濾網(20)和明礬(21),機架(1)內底部從左至右依次設有收集框(2),L形連桿(3)和支撐桿(4),收集框(2)內底部設有水泵(5),水泵(5)上設有軟管(6),L形連桿(3)頂部左側設有處理框(7),處理框(7)下部外側設有固定塊(8),固定塊(8)上掛有第二處理框(9),第二處理框(9)底部設有濾網(10),處理框(7)左側傾斜設有進水管(11),進水管(11)底部與機架(1)左壁頂端連接,處理框(7)內下部設有第二濾網(12),處理框(7)右側上部傾斜設有出水管(13),處理框(7)頂部中心設有軸承(14),軸承(14)內連接有轉軸(16),轉軸(16)頂部設有搖柄(15),轉軸(16)下部穿過第二濾網(12)連接有葉片(17),支撐桿(4)頂部設有第三處理框(18),第三處理框(18)內下部設有第三濾網(20),第三處理框(18)右側下部設有第二出水管(19),第二出水管(19)位于第三濾網(20)下方,軟管(6)穿過第三處理框(18)左壁上部,并且固定在第三處理框(18)左壁上部,第三濾網(20)上方放置有明礬(21)。
2.根據權利要求1所述的一種醫療機構污水處理設備,其特征在于,還包括有第二支撐桿(22)、固定桿(23)、滑軌(24)、滑塊(25)、彈簧(26)、行程開關(27)、電動繞線輪(28)和拉線(29),L形連桿(3)右側的機架(1)內底部設有第二支撐桿(22)和固定桿(23),固定桿(23)在第二支撐桿(22)右側,第二支撐桿(22)頂端設有滑軌(24),滑軌(24)上滑動式連接有滑塊(25),滑塊(25)頂端與支撐桿(4)連接,滑塊(25)左側連接有彈簧(26),彈簧(26)左端連接在L形連桿(3)右側,滑軌(24)頂部左右兩側均設有行程開關(27),固定桿(23)左側上部設有電動繞線輪(28),電動繞線輪(28)上繞有拉線(29),拉線(29)左端與滑塊(25)連接,電動繞線輪(28)與行程開關(27)通過電性連接。
3.根據權利要求2所述的一種醫療機構污水處理設備,其特征在于,還包括有蓋板(30)、固定板(31)、彈性拉線(33)和插桿(34),進水管(11)右壁頂端轉動式連接有蓋板(30),蓋板(30)左端轉動式連接有固定板(31),固定板(31)下部與進水管(11)左壁上部均開有插孔(32),進水管(11)左側中心設有彈性拉線(33),彈性拉線(33)頂端連接有插桿(34),插桿(34)插入插孔(32)將固定板(31)固定。
4.根據權利要求3所述的一種醫療機構污水處理設備,其特征在于,機架(1)材料為不銹鋼。
5.根據權利要求4所述的一種醫療機構污水處理設備,其特征在于,收集框(2)材料為Q235鋼。
6.根據權利要求5所述的一種醫療機構污水處理設備,其特征在于,滑軌(24)材料為優質鋼材,表面覆蓋鍍鋅層。
說明書
一種醫療機構污水處理設備
技術領域
本實用新型涉及一種污水處理設備,尤其涉及一種醫療機構污水處理設備。
背景技術
隨著醫療機構的蓬勃發展,其地理位置不僅局限于建筑物的地層,同時也在向高層寫字樓、商業樓和百貨樓內發展,污水處理是否達標將關系到診所能否開辦的一項重要依據,由于醫院污水中含有大量的病原微生物和有毒物質,如果隨意排放將對周邊環境造成破壞,甚至傳播疾病。
綜上,目前需要研發一種雙向處理的醫療機構污水處理設備,來克服現有技術中處理方式單一的缺點。
實用新型內容
(1)要解決的技術問題
本實用新型為了克服現有技術中處理方式單一難的缺點,本實用新型要解決的技術問題是提供一種雙向處理的醫療機構污水處理設備。
(2)技術方案
為了解決上述技術問題,本實用新型提供了這樣一種醫療機構污水處理設備,包括有機架、收集框、L形連桿、支撐桿、水泵、軟管、處理框、固定塊、第二處理框、濾網、進水管、第二濾網、出水管、軸承、搖柄、轉軸、葉片、第三處理框、第二出水管、第三濾網和明礬,機架內底部從左至右依次設有收集框,L形連桿和支撐桿,收集框內底部設有水泵,水泵上設有軟管,L形連桿頂部左側設有處理框,處理框下部外側設有固定塊,固定塊上掛有第二處理框,第二處理框底部設有濾網,處理框左側傾斜設有進水管,進水管底部與機架左壁頂端連接,處理框內下部設有第二濾網,處理框右側上部傾斜設有出水管,處理框頂部中心設有軸承,軸承內連接有轉軸,轉軸頂部設有搖柄,轉軸下部穿過第二濾網連接有葉片,支撐桿頂部設有第三處理框,第三處理框內下部設有第三濾網,第三處理框右側下部設有第二出水管,第二出水管位于第三濾網下方,軟管穿過第三處理框左壁上部,并且固定在第三處理框左壁上部,第三濾網上方放置有明礬。
優選地,還包括有第二支撐桿、固定桿、滑軌、滑塊、彈簧、行程開關、電動繞線輪和拉線,L形連桿右側的機架內底部設有第二支撐桿和固定桿,固定桿在第二支撐桿右側,第二支撐桿頂端設有滑軌,滑軌上滑動式連接有滑塊,滑塊頂端與支撐桿連接,滑塊左側連接有彈簧,彈簧左端連接在L形連桿右側,滑軌頂部左右兩側均設有行程開關,固定桿左側上部設有電動繞線輪,電動繞線輪上繞有拉線,拉線左端與滑塊連接,電動繞線輪與行程開關通過電性連接。
優選地,還包括有蓋板、固定板、彈性拉線和插桿,進水管右壁頂端轉動式連接有蓋板,蓋板左端轉動式連接有固定板,固定板下部與進水管左壁上部均開有插孔,進水管左側中心設有彈性拉線,彈性拉線頂端連接有插桿,插桿插入插孔將固定板固定。
優選地,機架材料為不銹鋼。
優選地,收集框材料為Q235鋼。
優選地,滑軌材料為優質鋼材,表面覆蓋鍍鋅層。
工作原理:當需要對醫療污水進行過濾處理時,將醫療污水注入進水管,污水通過進水管進入了第二處理框。濾網對首先進入的醫療污水進行過濾處理,隨后一部分過濾的污水沿著濾網流入收集框。搖動搖柄,帶動轉軸轉動,進而帶動葉片轉動,對污水進行攪拌,加速污水中雜質向下沉淀,同時防止雜質堵塞第二濾網。污水經過第二濾網二次過濾,達到高度后便沿著出水管流入第三處理框。位于收集框的過濾后的污水則是通過水泵的抽取,通過軟管流入第三處理框。位于第三處理框的明礬與污水接觸后迅速生成氫氧化鋁膠體,吸附污水中雜質,并形成沉淀,使水澄清,而生成的沉淀被第三濾網收集,澄清后的水則是通過第二出水管排出。
因為還包括有第二支撐桿、固定桿、滑軌、滑塊、彈簧、行程開關、電動繞線輪和拉線,L形連桿右側的機架內底部設有第二支撐桿和固定桿,固定桿在第二支撐桿右側,第二支撐桿頂端設有滑軌,滑軌上滑動式連接有滑塊,滑塊頂端與支撐桿連接,滑塊左側連接有彈簧,彈簧左端連接在L形連桿右側,滑軌頂部左右兩側均設有行程開關,固定桿左側上部設有電動繞線輪,電動繞線輪上繞有拉線,拉線左端與滑塊連接,電動繞線輪與行程開關通過電性連接,控制電動繞線輪順時針轉動,拉線收線,通過拉線帶動滑塊向右滑動,使得第三處理框向右運動,彈簧伸長,當滑塊與右側行程開關接觸時,右側行程開關控制電動繞線輪逆時針轉動,拉線放線,滑塊受到彈簧的彈力向左滑動,使得第三處理框向左運動,當滑塊與左側行程開關接觸時,左側行程開關控制電動繞線輪順時針轉動,如此反復,使得第三處理框中的明礬與污水接觸后迅速生成氫氧化鋁膠體充分吸附水中雜質,提高設備的去污效率。
因為還包括有蓋板、固定板、彈性拉線和插桿,進水管右壁頂端轉動式連接有蓋板,蓋板左端轉動式連接有固定板,固定板下部與進水管左壁上部均開有插孔,進水管左側中心設有彈性拉線,彈性拉線頂端連接有插桿,插桿插入插孔將固定板固定,當需要注入醫療污水時,拔出插桿,將固定板向上輕提,則固定板連接的蓋板可以打開,接著便可以向進水管注入污水,當污水處理完后重新將蓋板蓋上,將固定板掰回復位,然后將插桿插回原處。通過蓋板的設計,可以防止外界雜物進入裝置,造成管道堵塞,以及影響設備的去污能力。
(3)有益效果
本實用新型通過第三處理框中明礬與污水接觸后迅速生成氫氧化鋁膠體,吸附污水中雜質,并形成沉淀,使水澄清。通過電動繞線輪帶動第三處理框左右運動,使得第三處理框中的明礬與污水接觸后迅速生成氫氧化鋁膠體充分吸附水中雜質,提高設備的去污效率。通過蓋板的設計,可以防止外界雜物進入裝置,造成管道堵塞,以及影響設備的去污能力。





